Болгарка
Брус
Гвозди
Гвоздодер
Доска строганная
Дрель Cодержание

С технологией кровли шифером – от монтажа основания до устройства конька – вы можете ознакомиться на этой странице.
Как крыть кровлю шифером: изготовление обрешетки
Итак, решено – кроем крышу своими руками, не привлекая посторонней рабочей силы.

До того как покрыть крышу шифером, запомните одно из главных правил: обрешетка шиферной кровли должна быть максимально ровной, без горбов и западин, чтобы листы плотно ложились на нее.
Желательно, чтобы основание кровли под шифер было устроено таким образом, чтобы скат состоял только из целых листов. Можно, например, увеличить нахлест листов или вынести карниз за плоскость стены. Укладываются листа шифера снизу вверх, от карниза к коньку. При кровле крыши шифером своими руками каждый ряд укладывается на нижний с продольным и поперечным нахлестом. При уклоне ската менее 30° поперечный нахлест должен быть равен двум полным волнам, продольный—120—140мм. При уклоне более 30° продольный нахлест можно уменьшить до 100—120мм, поперечный нахлест равен одной полной волне.
[includeme file=»wp-content/plugins/include-me/ya1-h2.php»]
Монтаж и устройство кровли из шифера своими руками (с фото)
При устройстве кровли из шифера волнистые асбестоцементные листы укладываются справа налево. Исключением может быть размещение дома в районе с высоким ветровым напором, где необходимо учитывать направление превалирующих ветров. Следует сменить направление укладки на противоположное, если ветер дует навстречу традиционному направлению монтажа. В этом случае при устройстве шиферной кровли оба ската крыши рекомендуется делать от одного и того же фронтона.

В продольном направлении необходимо делать смещение стыков на одну волну в каждом последующем ряду. Крепление листов осуществляется специальными шиферными гвоздями или шурупами с оцинкованными шайбами, под которые устанавливаются мягкие герметизирующие прокладки (лучше из резины) для устранения протечек кровли. Гвозди забивают только в верхнюю волну, по верхним и нижним краям листа через 1—2 волны. При этом необходимо следить, чтобы шляпка гвоздя не вдавливалась в волну (зазор около 3—4 мм), иначе повредится структура листа и покрытие потеряет водонепроницаемость. Во избежание преждевременного растрескивания листов перед установкой крепежных элементов необходимо предварительно просверлить отверстия. Открытые шляпки гвоздей и шурупов защищают антикоррозийным покрытием (лаком, олифой, эпоксидной смолой или краской).

Посмотрите на фото кровля из шифера с защитно-декоративным покрытием для него лучше заранее приобрести гвозди или шурупы с красивыми шляпками под цвет листов.
Некоторые специалисты считают, что при монтаже кровли из шифера обязательно следует делать обрезку углов перекрываемой и перекрывающей кромок. Для этого у рядовых листов кровли срезают диагонально противоположные углы, но у начальных карнизных и конечных коньковых листов углы не срезаются. Эту процедуру производят ручной ножовкой, дисковой электропилой или углошлифовальной машинкой («болгаркой»), на которую установлен соответствующий диск.

Карнизные свесы при монтаже шиферной кровли устраиваются из асбестоцементных листов или кровельного железа. Коньковый элемент должен перекрывать нижележащие листы на 150 мм. После монтажа его прибивают к вершине каждой волны покрытия. Ендовы, разжелобки, примыкания кровли к вертикальной стене или дымоходу закрывают стальным фартуком, который крепят к сплошной обрешетке. Не забывайте, что шиферная кровля, выполненная своими руками, уязвима из-за наличия зазоров и щелей, образующихся в местах сопряжения листов, поэтому зазоры, превышающие 7 мм, рекомендуется промазывать герметизирующим составом.
[includeme file=»wp-content/plugins/include-me/ya2-h2.php»]
Кроем крышу шифером своими руками: монтаж еврошифера
По такой же технологии кладутся еврошифер и прозрачные волнистые кровельные материалы, но при их применении необходимо учитывать дополнительные требования и рекомендации фирм и предприятий-производителей.

При угле уклона ската крыши от 5° до 10° потребуется сплошная обрешетка из досок или фанеры. При этом продольный нахлест равен 300 мм, а поперечный — 2 полные волны. При угле наклона крыши от 10° до 15° обрешетка может быть разреженной, с шагом установки брусков 400—500мм. Продольный нахлест должен быть около 200 мм, а поперечный — 1 волна. При угле уклона крыши более 15° обрешетку делают с шагом 500—600 мм. Продольный нахлест в этом случае можно уменьшить до 150—170мм.
Для крепления листов еврошифера в различные поверхности применяют гвозди (длина — 75 мм, диаметр — 3,5 мм) из углеродистой стали с цинковым пассивированным покрытием: с пластиковой шляпкой — для мягких пород дерева, с закрывающейся шляпкой — для более плотных и твердых пород. Шляпки таких гвоздей изготавливают из устойчивого к ультрафиолетовому излучению материала. После монтажа они обеспечивают высокую герметичность и устойчивы к воздействию ветра. Выпускаются гвозди с черным, красным, зеленым и коричневым цветом шляпок.
Кроме самих кровельных листов производители еврошифера поставляют также различные доборные элементы:

Коньковый (используется для оформления ребра крыши);

Щипцовый (используется для оформления фронтона и ската кровли);

Ендова (используется для оформления стыка кровли с вертикальной стеной, а также для оформления ендов крыши);

Покрывающий фартук (предназначен для герметизации стыка между кровельными листами и вертикальной стеной или дымоходом) и заполнитель карниза. Последний изготавливается из вспененного полиэтилена и защищает просвет, образующийся на карнизе между кровельным листом и обрешеткой, а также на коньке между кровельным листом и коньковым элементом.
Закрывать просветы нужно для того, чтобы в подкровельное пространство не попадали влага, пыль и снег, не залетали птицы. Он может быть вентилируемым либо невентилируемым. Кроме того, заполнитель карниза может применяться или не применяться в зависимости от условий вентиляции каждой конкретной кровли.
[includeme file=»wp-content/plugins/include-me/ya3-h2.php»]
Монтаж и устройство шиферной кровли (с фото)
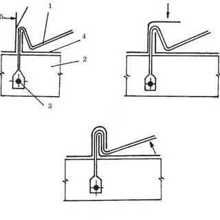
При монтаже кровли из шифера своими руками самым надежным соединением является фальцевое. Различают фальцевые соединения лежачие и стоячие, одинарные и двойные.

Двойной фальц позволяет сделать более надежное соединение, так как имеет двойной загиб, но часто вполне достаточно и одинарного фальца. Элемент кровельного покрытия, у которого кромки подготовлены для фальцевого соединения, часто называют картиной.

Картины крепят к кровле с помощью кляммеров: один конец, которого заводят в стоячий фальц, а другой непосредственно крепят к обрешетке. Боковые длинные края листового материала, идущие вдоль ската, соединяют стоячими фальцами, а горизонтальные — лежачими. Полосы рулонного материала соединяют только стоячими фальцами.

Традиционным является фальцевание вручную, когда фальцы закатываются вручную ударами киянки. В современной технологии применяется автоматическое фальцевание, выполняемое с применением специального оборудования.

Как видно на фото, шиферная кровля монтируется при помощи прокаточного станка, который загибает края листа или полосы во всю длину. Кроме прокаточного станка широко используется установка, предназначенная для механического изготовления подвижных кляммеров — специальных «язычков», с помощью которых элементы кровли крепятся к основанию. Они же обеспечивают компенсацию термической подвижки кровли, возникающей в результате перепадов температур в зимний и летний периоды.
Механизация этих процессов позволяет получать детали, имеющие значительно меньший разброс по сопрягаемым размерам, чем детали, изготовленные «на глазок» с помощью ручного инструмента.
Непосредственно на кровле применяются специальные закаточные машинки и комплект ручного инструмента, предназначенные для устройства фальцевого соединения. Основным инструментом, предназначенным для закрытия стоячего фальца (двойного или одинарного) являются кровельные рамки.

Закрытие фальца происходит в два этапа. Вначале производится первичная гибка готового углового фальца — соединение стыка (фальца), затем — заключительное формирование стоячего фальца.













Свежее
Популярное