Cодержание


Расчет размера ступеней лестницы выполняется с учетом типа конструкции. Если она прямолинейная, используют одни формулы. Если поворотная, важно не забить про расчет забежных ступеней, особенность которых заключается в отличии размеров наружного и внутреннего края. Существует множество онлайн-калькуляторов, позволяющих быстро произвести вычисления. Но если знать, как правильно рассчитать ступени на лестнице, каждому под силу справиться с этой не такой уж сложной задачей самостоятельно.
Для расчета размеров ступеней существует несколько способов. Лишь после того как все размеры будут известны, а план готов, можно приступать непосредственно к строительству лестницы выбранного типа.
На этой странице вы узнаете, как самому рассчитать лестницу с забежными ступенями и без них.
Способ расчета ступеней лестничного марша
[includeme file=»wp-content/plugins/include-me/goog-left.php»]
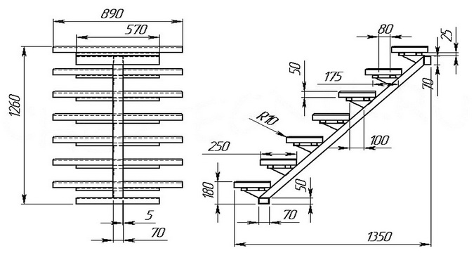
Для движения по лестнице в доме без прикладывания чрезмерных усилий необходимо, чтобы для каждой ступени соблюдалось определенное соотношение между «расстоянием», на которое человек движется вперед, и «расстоянием», на которое он опускается или поднимается. Такое соотношение называется уклоном. Таким образом, ширина проступи и высота подступенка должны соответствовать ширине среднего человеческого шага, а она при подъеме ноги на 300 мм в среднем составляет примерно 600 мм. В строительстве существует правило, согласно которому ширина среднего шага человека равна сумме удвоенной высоты подступенка (К) и ширины проступи (Ъ):
2h + b = 600-650 мм.
Например, если высота подступенка составляет 185 мм, то ширина проступи должна быть равна 270 мм. Так, согласно приведенной формуле расчета ступеней: 2×185+ 270 = 640 мм.
При высоте подступенка 170 мм ширина проступи будет составлять 290 мм. Такое соотношение принято считать идеальным. Но на практике при расчете ступеней лестницы рекомендуется придерживаться других параметров.
Так, например, в доме высота подступенка обычно не превышает 170 мм, но иногда может варьироваться в пределах от 120 до 200 мм и даже более, а ширина проступи — от 280 до 300 мм (но она не должна быть менее 250 мм).
Если ширина проступи слишком большая, то при подъеме по лестнице будет сбиваться шаг, а если конструкция будет узкой, то затруднения могут появиться при спуске.
Часто ширину проступи увеличивают примерно на 20-30 мм (в зависимости от толщины подступенка), так как лестница с углубленными подступенками является более удобной в эксплуатации. Но это считается крайней вынужденной мерой, когда нет другого способа увеличить ширину проступи. При этом ширина проступи становится больше, а место, предназначенное под лестничную конструкцию, остается неизменным.

При расчете ступеней прямой лестницы, умножив оптимальную ширину проступи на количество подступенков, можно вычислить заложение марша, т. е. длину его горизонтальной проекции. До этого необходимо вычесть из количества подступенков 1, так как при совпадении верхней проступи с уровнем пола или лестничной клетки количество проступей сокращается на одну.
Для вычисления длины основания лестницы этим способом следует умножить количество проступей на их ширину. Кроме того, длина общего прогона и длина проема в полу верхнего этажа должны быть почти одинаковыми.
После проведения подсчетов, определив высоту лестницы, можно выполнить расчет количества ступеней и длину основания лестничной конструкции (общий прогон). Высота лестницы напрямую зависит от высоты этажа. Как же рассчитать количество ступеней? Разделив полученную величину на высоту подступенка, можно узнать точное количество ступеней.

При первоначальном выборе высоты подступенка важно помнить, что частное от деления должно являться целым числом, в противном случае ступени будут иметь разную высоту, а это недопустимо. Дробный результат необходимо округлить в большую сторону для более пологой конструкции или, наоборот, — в меньшую, если допускается, что лестница будет крутой. Разделив общую высоту марша на количество ступеней и округлив результат, можно вычислить высоту подступенка.
Далее вы узнаете, как рассчитать ступени лестницы, зная высоту подступенка и ширину проступи.
[includeme file=»wp-content/plugins/include-me/ya1-h2.php»]
Как рассчитать размер ступеней лестницы по высоте подступенка и ширине проступи
[includeme file=»wp-content/plugins/include-me/goog-right.php»]
Для выбора параметров ступеней можно использовать два правила, в основе которых лежит высота подступенка (h) и ширина проступи (5):
- первое правило представляет собой «формулу удобства»: b-h — 120 мм;
- второе правило при расчете ступеней лестницы называют «формулой безопасности»: b + h = 460 мм.
Согласно вышеизложенному, чтобы рассчитать ступени правильно, так, как того требует технология возведения конструкции, лучше всего выбирать соотношение между шириной проступи и высотой подступенка, которое близко к оптимальному. Например, удобными будут считаться лестничные конструкции, имеющие ширину проступи 295 мм при высоте подступенка 150 мм или
С шириной проступи 230 мм и высотой подступенка 215 мм, так как в обоих случаях в сумме получается 445 мм, что не противоречит формуле безопасности. Хотя при расчете лестничных ступеней многое будет зависеть от месторасположения и формы лестницы, площади помещения и других условий.
Существуют определенные требования по жесткости несущих элементов сооружения, так как оно представляет собой конструкцию, на которую в процессе эксплуатации большое воздействие оказывают динамические нагрузки.
Помимо собственного веса лестницы, имеются и временные нагрузки, которые в домах составляют примерно 300 кг/м2. Так, прогиб не должен быть более 1/400 пролета.
Нужно учитывать, что как слишком узкие (менее 260 мм), так и очень широкие (более 320 мм) проступи являются неудобными в эксплуатации. При узкой проступи происходит уменьшение площади опоры ноги, во время подъема над передним краем ступени пятка заметно нависает, а при спуске свисает передняя часть стопы. Из-за этого нога может соскользнуть — возникает риск получения травмы. Чрезмерно широкая проступь (стопа целиком встает на нее) требует увеличения ширины шага. Из-за этого понадобится приложить больше усилий во время перемещения по лестнице.
Ниже описано, как рассчитать размер ступеней графическим способом.
[includeme file=»wp-content/plugins/include-me/ya2-h2.php»]
Расчет ступеней прямой лестницы: графический способ
Ррасчет ступеней лестничного марша также можно произвести графическим способом. Он является эргономическим, так как в нем используются естественные для человека параметры. Так, длина шага по горизонтальной поверхности составляет в среднем 620 мм, а для легкого поднятия ноги идеальна высота 310 мм. Если на оси х (по горизонтали) отложить определенное количество частей, равных 620 мм, а на оси у (по вертикали) отмерить такое же число частей, равных 310 мм, то благодаря этому, независимо от уклона, можно будет определить габариты ступеней для всех лестничных конструкций.
С этой целью необходимо использовать миллиметровую бумагу (если ее нет, то подойдет обычная бумага в мелкую клеточку), на которой следует начертить оси координат и в подходящем масштабе отмерить на осях отрезки, равные длине шага (на оси х) и высоте подъема (на оси у). Затем нужно соединить полученные точки. Далее необходимо начертить линию уклона лестницы (по углу). После этого через точки пересечений имеющихся на чертеже линий следует провести пунктирные линии, параллельные осям. По полученным линиям нужно начертить линию — «лесенку». В результате можно измерить получившиеся ступени, сделав поправку на масштаб.
Между параметрами ступени (ее шириной и высотой) и уклоном лестницы будет видна определенная зависимость.

При расчете параметров ступеней (высоты подъема, ширины и формы) следует обратить внимание на то, что это размеры ступеней в плане. На самом деле они поддаются корректировке. Например, можно увеличить ширину проступи, соорудив у ступени валик (не рекомендуется, чтобы нависание проступи было больше 50 мм). Также можно выполнить скошенный подступенок (но не более чем на 50 мм) или полностью отказаться от него. Таким образом, всегда можно сделать проступь шире, а лестницу — удобнее в эксплуатации при подъеме. Но безопасность спуска при этом не повышается, так как расчетные размеры ступеней остаются неизменными.
Размер общего прогона высчитывается по количеству подступенков, размеру проступей и способу крепления лестницы вверху. Для изготовления простой одномаршевой лестницы желательно подобрать несколько вариантов. Например: 13/206, 14/192, 15/179, 16/168. Первое число здесь обозначает количество подступенков, а второе — их высоту.
Удобство и безопасность в использовании лестничной конструкции во многом зависит от угла ее подъема, т. е. от относительной величины подъема лестничного марша.
Несмотря на то что угол подъема марша может варьироваться в пределах от 20 до 50°, идеальными будут лестницы, относительная величина подъема лестничного марша которых составляет от 23 до 38°. Пологими можно считать лестничные конструкции с крутизной до 38°, а крутыми — с уклоном в 38-45°. Если уклон будет меньше 23°, то вместо лестницы рекомендуется положить пандус. Если уклон превышает 45°, то желательно изменить тип лестницы, из-за крутизны она может быть приставной или раскладной. Для винтовых сооружений идеальным считается угол подъема 25-35°.
Главными факторами при определении крутизны лестницы являются возрастной показатель тех, кто будет по ней передвигаться (так как для пожилых людей уклон более 38° будет неудобным), а также размер места, предназначенного для устройства конструкции.
Есть определенная связь между высотой этажа, высотой ступеней и их количеством в зависимости от степени крутизны лестничной конструкции.

При выборе крутизны лестничного марша следует учитывать, что расстояние от верхней плоскости каждой ступени до потолка (высота просвета) согласно строительным нормам не должно составлять менее 1900-2000мм. Чем больше просвет, тем удобнее лестница, особенно для высоких людей. То же самое относится и к лестничным площадкам. Устройство достаточного по размерам просвета избавит от риска удариться головой о потолок, к тому же можно будет забыть и о проблемах с перемещением крупных предметов.
Заключительный раздел статьи посвящен тому, как рассчитать ступени поворотной лестницы .
[includeme file=»wp-content/plugins/include-me/ya3-h2.php»]
Как рассчитать забежные ступени: способ расчета поворотной лестницы
До этого речь шла о ступенях прямолинейных лестничных конструкций. Чтобы сэкономить пространство, вместо промежуточных лестничных площадок между прямыми маршами рекомендуется закладывать забежные ступени. У них наружный и внутренний края имеют различия по ширине. Такие лестницы отличаются тем, что изменение направления движения по ним происходит плавно благодаря постепенному переходу от прямых ступеней к забежным. Как же нужно рассчитывать размеры ступеней на поворотной лестнице?

При расчете поворотной лестницы с забежными ступенями необходимо иметь в виду, что самая маленькая ширина проступи на узком конце ступени должна составлять не менее 100 мм, а нависание над нижележащей ступенью может быть не более 50 мм. Забежные ступени имеют своеобразную клиновидную форму, для создания которой необходимы специальные умения. Расчеты можно производить несколькими способами.
Самым распространенным является метод пропорционального деления. Рассмотрим его на примере проектирования полуоборотной одномаршевой лестницы со средними забежными ступенями.
Перед тем как рассчитывать забежные ступени, необходимо сначала разбить среднюю линию марша на равные части, при этом на середину полуокружности должна приходиться одна ступень.
Ширина ее проступи в самом узком месте задается предварительно, но она должна составлять более 100 мм. При наличии четырех точек для центральной ступени следует провести линии ее продольных кромок, затем продолжить их до пересечения с осью симметрии. Полученную в результате этих действий при расчете поворотных ступеней точку — первую точку отрезка пропорционального деления — можно обозначить буквой А.
Для нахождения второй точки пропорционального деления необходимо соединить контуры прямых ступеней, которые являются смежными с забежными. Так определяют точку пересечения с осью симметрии. Ее при расчете лестницы с забежными ступенями можно обозначить буквой В. Затем прямую АВ следует разделить на отрезки в пропорции 1 : 2 : 3 : 4 : 5 : 6, т. е. их число должно быть равным числу забежных ступеней по обе стороны от оси симметрии. В результате нужно соединить точки "деления оси симметрии с точками деления средней линии марша.
При «снятии» размеров с чертежа следует тщательно проверить размерную цепочку всех ступеней методом сложения. В итоге сумма размеров, «снятых» с одной стороны ступеней, не должна быть больше или меньше действительного размера лестницы на данном участке.
Свежее
Популярное